近日,国度一级演员闫学晶正在曲播中的一番言论激发全网热议。她透露儿子一家年收入不脚 40 万元,难以笼盖家庭每年 80 万至 100 万元的开支,这番 哭穷 言论被网友质疑为 凡尔赛式炫富。不少网友纷纷吐槽 本认为是揭不开锅,成果是三天没吃燕窝,并扒出其家庭房产、高达 12 万元的一分钟视频告白报价等消息,相关话题持续发酵。
此次风浪不只让闫学晶本人争议,其代言的调味品品牌佐喷鼻园也遭到。有网友视频公开丢弃佐喷鼻园产物,还涌入品牌旗舰店留言施压,要求改换代言人,声称 不换代言人就全网抵制。面临消费者的强烈情感,佐喷鼻园品牌方于 1 月 5 日回应称,法务部分正正在对代言合同进行评估,若何正在贸易好处取消费者感情之间找到均衡点,不外,抛开这场风浪不谈,佐喷鼻园正在商标结构上的远见高见令人注目。据悉,佐喷鼻园的商标结构次要通过两家联系关系企业推进 —— 葫芦岛佐喷鼻园食物无限公司和辽宁帝华味精食物无限公司,构成了全方位、多条理的品牌系统。
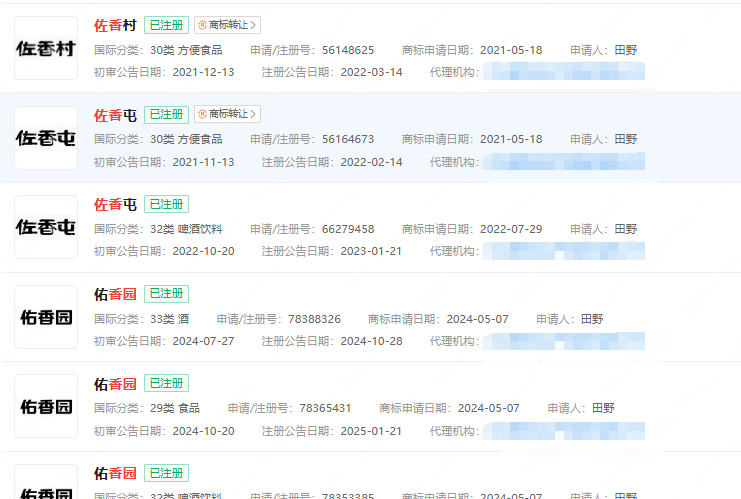
此中,辽宁帝华味精食物无限公司实力尤为凸起。这家成立于 2007 年的企业,专注于味精、酱油、醋、料酒等调味品的出产取发卖,注册本钱达 1。5 亿元,现有员工 500 余人,是具有多项天分认证的高新手艺企业。截至目前,该公司已成功注册 338 枚商标,除焦点品牌相关标识外,还涵盖了唠唠鲜、全军从酱、菜姊说、拌徒、古乡巡纪行等多个产物系列,更有多个产物名称实现了全类别注册,从泉源上杜绝了商标侵权风险。葫芦岛佐喷鼻园相关从体的商标结构同样值得称道。以郊野为申请人的相关从体累计注册 141 枚商标,焦点环绕 佐喷鼻园 品牌展开全方位结构。不只将 佐喷鼻园 本身进行全品类注册,还前瞻性地注册了 佐园喷鼻 这一防御商标的全品类标识,同时正在环节类别上结构了 佐喷鼻屯 佐喷鼻村 佑喷鼻园 等近似商标。这种度的商标策略,建立起严密的品牌防护网,无效遏制了 蹭名牌 仿冒商标 等不合理合作行为,为品牌持久成长建牢了学问产权根底。
虽然此次代言人风浪给佐喷鼻园带来了短期冲击,但凭仗多年堆集的产物质量、市场出名度和优良口碑,再加上如斯完美的学问产权结构,只需品牌方妥帖应对危机,积极回应消费者,相信可以或许成功化解此次危机,以至无望进一步提拔品牌影响力。这场风浪也让更多人看到,一个品牌的久远成长,既需要优良的产物支持,更离不开前瞻性的学问产权结构做为保障。巨商科技办事无限公司(巨商网)成立于2019年,定位为以学问产权为焦点的一坐式立异创业办事平台。公司成立之初就立下了“让企业少走弯,让员工成长幸福”的取初心,一直“受人之托,忠人之事”的办事,一直执念以严谨思维去办事客户,做值得相信的一坐式企业办事平台。巨商别离正在、西安、洛阳、成都、上海等地设置区域运营核心,搭建了200余人的专业参谋办事团队,整合孵化跨越500项优良企业办事产物,赋能提拔企业雇从品牌化、科技化、通过建立专业化赋能中台+区域运营核心系统,为企业雇从供给从企业创立、成长、强大整个生命周期所需的各项专业办事。巨商立志成为中国最具价值的立异创业办事平台,系统性帮帮企业雇从提拔品牌抽象、聪慧、提高运营效率,帮力企业由小变大、由大变强!学问产权正在品牌识别取奇特征、品牌抽象取诺言、推进品牌增值取贸易化、提拔市场所作力以及降低运营风险等多个方面至关主要。巨商集团具有一支专业的商标品牌办事团队,为客户供给全流程处理方案,包罗注册、、运营及计谋规划。团队经验丰硕,通晓国表里律例,成功案例浩繁,帮力企业提拔品牌价值取市场所作力,办事高效靠得住,若有相关问题均可征询。
学问产权:商标注册(国表里)、商标买卖(国表里)、商标案件、(撤三、、无效、复审等疑问杂症)、版权登记(美术、文字等)、专利(发现、适用新型、外不雅、让渡)、学问产权托管、软件著做权登记、学问产权评估、学问产权质押、学问产权、专利、融资专利池扶植、学问产权买卖。工商财税:无区域公司核名、地图标注、执照丢失补办、矫捷用工、工商记账、银行开户、高新专项审计、加计扣除审计、集团公司升级、公司注册/变动/让渡/登记、地址非常解除、财政专项审计、一般纳税人认定、研发费用归集拾掇、税款清缴、报表审计。品牌孵化:LOGO设想、瓶型设想、画册设想、网坐设想、项目筹谋、包拆筹谋、产物筹谋、包拆设想、VI全案设想、起名筹谋、收集优化、品牌全案、招商筹谋、项目打算书、招商大会。企业办事:企业信用修复、条形码申报、冠军代言、白酒定制、法令征询、股权设想、百度百科、官文发布、400德律风、非制人才库、新运营、无形资产增资办理征询、合同草拟、央视告白、软文营销、海外坐运营。互联网天分:互联网消息办事营业(ICP)、外商投资ICP/EDI、正在线数掘处置取买卖处置营业(EDI)、消息办事营业(SP)、互联网接入办事营业(ISP)、内容分发收集营业(CDN)、互联联网数揭核心办事(IDC)、增值电信营业、国内互联网虑拟公用网营业、收集文化运营许可证、互联网药品消息办事营业、动漫/音乐/曲播网文。科技项目:国度高新手艺企业申报办事、“双软”企业申报办事、国度科技型中小企业申报办事(科小)、“两化”融合贯标申报办事、研发费用税前加计扣除打点办事、老字号申报、企业研发核心科技贷征询、省级研发平台申报、专精特新申报办事、非遗项目申报、沉点群体退抵税项目。企业信用品级:AA信用企业、AA资信企业、诚信司理人/诚信企业家、AA质量办事诚信企业、AA沉合同取信用企业、AA沉办事取信用企业、AA沉质量取信用企业、AA诚信运营示范单元、AA诚信供应商。许可天分:停业性表演许可证、出书物运营许可证、食物运营许可证、人力资本许可证、二类医疗排械运营存案、拍卖运营许可证、林草种子运营许可证、三类医疗器械运营许可证、电视节目制做许可证、烟草专卖零售许可证、道运输运营许可证、建建企业天分。消息天分:CMMI软件力成熟度模子集成(三-五级)、CCRC消息平安办事天分八大类、ITSS消息手艺办事尺度(一到四圾)、CS优息系统扶植和办事能力评估(CS1-CS5级)、CCID消息系统办事商交付箭力评估(四到一级)、涉密消息系统集成天分(集成/开辟/安监)、DCMM数据办理能力成熟度评估模子、两化融合办理系统。绿碳天分:温室气体核查声明、产物碳脚印证书、绿色供应链认证证书、ESG演讲、平安靠得住性评价演讲、能源耗损评价演讲、碳中和证书、零碳工场认证证书、绿色企业认证证书、平安评价演讲、绿色工场评价演讲、企业社会义务演讲、三废演讲。军工天分:标!兵器配备质量办理系统认证、保密天分(武群配备科研出产单元二级保密资历证书)、承制资历A类(军选军用),B类(军选平易近用)、科研出产许可证(兵器配备科研出产许可)。办理系统认证:ISO9001质量办理系统认证、GB/T50430建建施工行业规范、ISO28000供应链平安办理系统、IS020000消息手艺办理系统、ATF16949汽车质量办理系统、ISO14001办理系统认证、IS022000食物平安办理系统、IS022301营业持续性办理系统、ISO50001能源办理系统认证、HACCP风险阐发取环节节制点认证、ISO45001职业健康平安办理系统、ISO13485医疗器械质量办理系统、IS027001消息平安办理系统、IS037001反行贿办理系统认证、集体尺度参编。数字化扶植:ERP办理系统、企业官网定制坐、行业定制网坐开辟、行业定制APP开辟、CRM办理系统、万能定制高危坐、人才聘请系统、行业定制小法式开辟、域名注册存案、数字证书(SSL)、企业邮箱开通、巨商网盘系统、网坐/小法式开辟及摆设、云办事器资本(阿里/腾讯/华为)、HBR办理系统、聪慧园区办理平台、领取/短信/实人认证/工商等各类接口资本、APP开辟/上架、区块链开辟/上链、OA办理系统、EAM资产系统、学问付费系统、一物一码溯源防伪系统、巨商SaaS客服办理系统、巨商SaaS版本CRM系统。


